ZY6513C 防火門耐軟重物體撞擊性能試驗裝置
ZY6513C防火門耐軟重物體撞擊性能試驗裝置,適用于防火門耐軟重物體撞擊性能試驗。
- 適用范圍
- 符合標準
- 主要特點
- 主要參數
- 技術服務
一、適用范圍:
1.1適用于防火門耐軟重物體撞擊性能試驗。
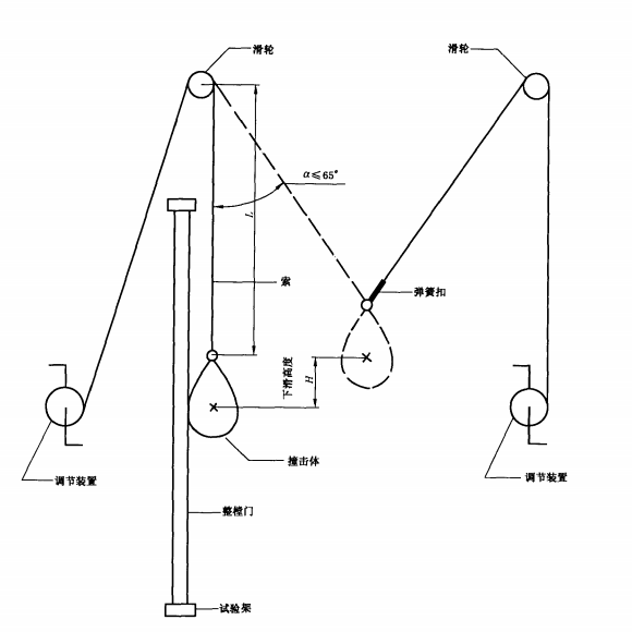
1.2試驗方法:將防火門試件安裝在試驗框架上,按照GB/T 14155的規定進行耐軟重物體撞擊性能檢驗,軟重物體撞擊位置為防火門某一門扇一側面的接近幾何中心位置(避開防火玻璃),軟重物體下降高度為300 mm,撞擊次數為10次。觀察并記錄門的損壞情況;然后進行正常啟閉試驗,觀察并記錄門扇的啟閉情況。
二、符合標準:
2.1符合GB12955-202*《防火門》第6.5.4節“耐軟重物體撞擊性能”試驗;
2.2符合GB/T 14155-2008/ISO 8270:1985《整模門 軟重物體撞擊試驗》。
三、主要技術資料:
3.1組成:有試驗架、軟重物體、鋼絲索、滑輪、彈簧扣和調節裝置組成;見圖3
3.2軟重物體:見圖2
3.2.1重量:30kg;
3.2.2規格:直徑約350mm球狀皮袋;
3.2.3砂子密度:1500kg/m3,2mm篩孔篩選的砂子;
3.3試驗次數:0~9999次;
軟重物體
軟重物體撞擊試驗裝置和試驗原理



